Product.

产  品

BRFNT-26-LP USB 宽带接收机是一种紧凑的高性能一体化设备, 可提供多种测量功能,被设计来进行高性能的频谱分析、相位噪声测试和频率响应分析,工作频率可达26GHz。

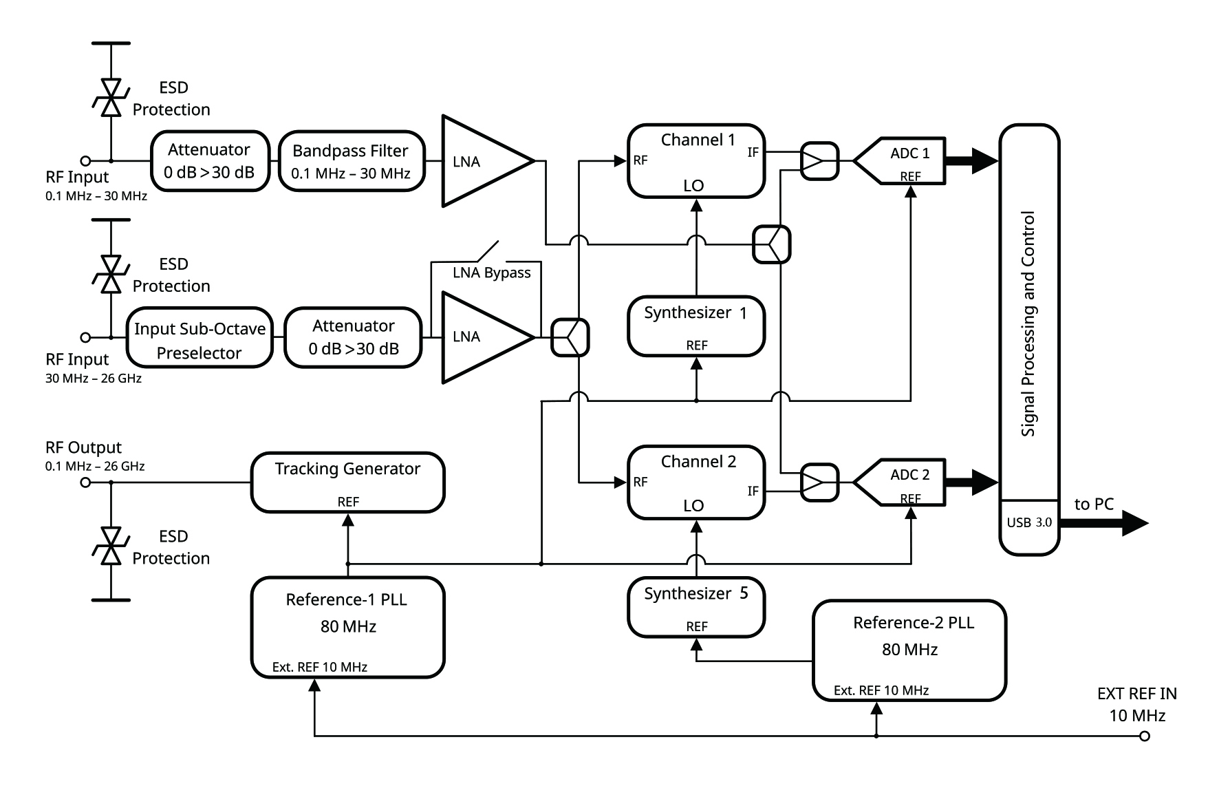
频谱分析采用了新的架构-双通道架构(Two-Channel Architecture (TCA))– 使其可以消除镜频并显著的降低频谱范围内的失真。

由于两组数据集是通过双通道同时采样的得到的。因此相比广为人知的软件预选器,TCA可在频域上准确的展现各种调制信号。

TCA带来的另外的优势是在相位噪声测试中可作为一个互相关引擎。

BRFNT-26 – 宽带接收器/相位噪声测试仪

  • 频谱分析模块

    1.Waterfall_mode

    2. Sine

    3. Real-time

    独特算法实现实时频谱分析

    快速捕捉各种信号

    相位噪声模块

    测试界面直观便捷,测试能力优异,测量灵敏度处于领先水平

     频率响应分析 (FRA) 模块

    可作为标量网络分析仪使用,校准快捷,使用方便

    瞬态分析模块

    回波损耗模块

  • ● 频谱分析频率范围:100KHz-26GHz
    ● 创造性的采用TCA结构消除图像杂散
    ● 输入亚倍频预选器 (滤波器组): 30 MHz to 26 GHz
    ● 可切换输入低噪放: 30 MHz to 26 GHz
    ● 全带跟踪源: 100 kHz to 26 GHz
    ● 全数字中频技术:RBW 1 Hz to 100 kHz)
    ● 相位噪声测量:–130 dBc/Hz at 100 kHz 
    ● 脉冲相位噪声测量:最高脉冲重复频率3MHz最小射频脉宽100ns。
    ● 互相关引擎:1 up to 100 000
    ● 实时显示频谱并百分百捕获带宽20MHz内,3us以上的信号

    ● 20 MHz 中频采样带宽

    ● 时域信号分析(幅度/频率/时变相位/录制与回放)

    ● 频率响应测试

    ● 标量回波损耗测量

    ● 扫描速率:20 GHz/s

    ● 利用电脑固态硬盘记录与回放20MHz信号带宽(或1MHz到机械硬盘)

    ● 10位频率计数器

    ● 输入/输出静电放电(ESD)保护电路

    ● 紧凑且轻量化

  • +25°C条件下典型指标

     

      频  率

    频率范围

    输入 1: 100 kHz to 30 MHz

    输入 2: 30 MHz to 26 GHz

    扫频带宽

    1 kHz 到 26 GHz可调

    调谐分辨率

    1 Hz

    频率参考精度

    ±0.1ppm (25°C ± 25°C), ±1 ppm/年老化

      带  宽

    分辨率带宽 (RBW)

    1 Hz t到100 kHz

    滤波器类型

    FFT

    窗函数类型

    凯泽窗(Kaiser)

    滤波器品质因数

    1 到10可调

    视频平均因子

    from 1 到1000

      迹  线

    迹线数量

    6

    迹线功能

    on选中, View单次显示, read读, 写write,空白 Blank

    迹线检测器

    常规, 采样, 均方差(RMS),平均电压,正峰值,负峰值, 准峰值

    电平单位

    dBm, dBµV

      标  记

    标记数量

    6

    模式

    常规, 差值, 跟踪, 线型,峰值,标记表

    标记偏差

    ±(标记频率 ×参考频率精度 + 0.001 × 扫频带宽) Hz

      扫 描 速 度

    全频带扫频, 100 kHz 分辨率带宽

    15 GHz/s

      幅  度

    幅度准确度

    ±1.0 dB (100 kHz - 30 MHz)

    ±1.5 dB (30 MHz - 5.8 GHz)

    ±2.0 dB (5.8 GHz - 26 GHz)

    RBW混叠滤波器

    ≤ 1.0 dB

    输入衰减范围

    0 到30 dB、1dB步进

    测量电平范围

    显示噪声电平 0 dBm (低噪放选通,输入衰减 30dB)

    显示噪声电平 +20 dBm (低噪放关断,输入衰减 30dB)

    过载数字输入信号电平

    (输入衰减 = 0 dB)

    –12 dBm (100 kHz - 30 MHz)

    –10 dBm (30 MHz - 3000 MHz)

    –5 dBm (3000 MHz - 13000 MHz)

    0 dBm (13000 MHz - 18000 MHz)

    +5 dBm (18000 MHz - 26000 MHz)

    低噪放关断, 预选器关断

    –25 dBm (30 MHz - 3000 MHz)

    –20 dBm (3000 MHz - 13000 MHz)

    –10 dBm (13000 MHz - 18000 MHz)

    –5 dBm (18000 MHz - 26000 MHz)

    低噪放选通,预选器关断

    –20 dBm (30 MHz - 3000 MHz)

    –15 dBm (3000 MHz - 13000 MHz)

    –10 dBm (13000 MHz - 18000 MHz)

    –5 dBm (18000 MHz - 26000 MHz)

    低噪放选通,预选器选通

    –5 dBm (30 MHz - 3000 MHz)

    0 dBm (3000 MHz - 13000 MHz)

    +3 dBm (13000 MHz - 18000 MHz)

    +5 dBm (18000 MHz - 26000 MHz)

    低噪放关断, 预选器选通

      噪声系数,显示噪声电平 (典型值)

    噪声系数 ( 1 Hz RBW显示噪声电平),

    输入衰减器 = 0 dB

    12 dB / –162 dBm (100 kHz - 30 MHz)

    27 dB / –147 dBm (30 MHz - 3 GHz)

    30 dB / –144 dBm (3 GHz - 5.8 GHz)

    28 dB / –146 dBm (5.8 GHz - 14.5 GHz)

    35 dB / –139 dBm (14.5 GHz - 18 GHz)

    37 dB / –137 dBm (18 GHz - 24 GHz)

    43 dB / –131 dBm (24 GHz - 26 GHz)

    低噪放关断,预选器关断

    16 dB / –158 dBm (30 MHz - 3 GHz)

    18 dB / –156 dBm (3 GHz - 5.8 GHz)

    19 dB / –155 dBm (5.8 GHz - 14.5 GHz)

    24 dB / –150 dBm (14.5 GHz - 18 GHz)

    27 dB / –147 dBm (18 GHz - 24 GHz)

    30 dB / –144 dBm (24 GHz - 26 GHz)

    低噪放选通 ,预选器关断

    19 dB / –155 dBm (30 MHz - 3 GHz)

    23 dB / –151 dBm (3 GHz - 5.8 GHz)

    20 dB / –154 dBm (5.8 GHz - 14.5 GHz)

    24 dB / –150 dBm (14.5 GHz - 18 GHz)

    28 dB / –146 dBm (18 GHz - 24 GHz)

    31 dB / –143 dBm (24 GHz - 26 GHz)

    低噪放选通,预选器选通

    16 dB / –158 dBm (30 MHz - 3 GHz)

    18 dB / –156 dBm (3 GHz - 5.8 GHz)

    19 dB / –155 dBm (5.8 GHz - 14.5 GHz)

    24 dB / –150 dBm (14.5 GHz - 18 GHz)

    27 dB / –147 dBm (18 GHz - 24 GHz)

    30 dB / –144 dBm (14 GHz - 26 GHz)

    低噪放关断,预选器选通

      交调 (典型值)

    输入二阶交调截点

    (输入衰减器 = 0 dB,

    双音信号相差2MHz)

     

     

     

     

     

     

     

     

     

     

     

     

     

     

     

     

     

     

     

     

     

     

     

     

     

     

     

     

     

     

     

     

     

     

     

     

     

    Freq., MHz

    低噪放关断,

    预选器关断

    低噪放选通,

    预选器关断

    低噪放选通,

    预选器选通

    低噪放关断

    预选器选通

     

    0.1 – 30

    +50 dBm

    (低噪放持续选通,带内无预选器)

     

    30 – 44

    +43 dBm

    +28 dBm

    +75 dBm

    +75 dBm

     

    45 – 53

    +45 dBm

    +32 dBm

    +80 dBm

    +79 dBm

     

    54 – 70

    +47 dBm

    +37 dBm

    +80 dBm

    +80 dBm

     

    71 – 100

    +49 dBm

    +42 dBm

    +79 dBm

    +79 dBm

     

    101 – 153

    +67 dBm

    +30 dBm

    +80 dBm

    +82 dBm

     

    154 – 240

    +66 dBm

    +29 dBm

    +82 dBm

    +82 dBm

     

    241 – 386

    +54 dBm

    +27 dBm

    +81 dBm

    +82 dBm

     

    387 – 610

    +52 dBm

    +28 dBm

    +85 dBm

    +91 dBm

     

    611 – 900

    +53 dBm

    +32 dBm

    +88 dBm

    +101 dBm

     

    901 – 1390

    +50 dBm

    +37 dBm

    +86 dBm

    +96 dBm

     

    1391 – 2270

    +49 dBm

    +32 dBm

    +89 dBm

    +81 dBm

     

    2271 – 3770

    +45 dBm

    +30 dBm

    +105 dBm

    +103 dBm

     

    3771 – 6180

    +37 dBm

    +35 dBm

    +95 dBm

    +95 dBm

     

    6181 – 9610

    +45 dBm

    +38 dBm

    +87 dBm

    +86 dBm

     

    9611 – 15440

    +31 dBm

    +16 dBm

    +103 dBm

    +100 dBm

     

    15441 – 18000

    +35 dBm

    +11 dBm

    +89 dBm

    +90 dBm

     

    18001 – 26000

    +34 dBm

    +13 dBm

    +85 dBm

    +96 dBm

     

    Freq., MHz

    低噪放关断,

    预选器关断

    低噪放选通,

    预选器关断

    低噪放选通,

    预选器选通

    低噪放关断

    预选器选通

     

    0.1 – 30

    +20 dBm

    (低噪放持续选通, 带内无预选器)

     

    30 – 44

    +20 dBm

    0 dBm

    +10 dBm

    +22 dBm

     

    45 – 53

    +18 dBm

    0 dBm

    +7 dBm

    +19 dBm

     

    54 – 70

    +18 dBm

    0 dBm

    +6 dBm

    +19 dBm

     

    71 – 100

    +18 dBm

    0 dBm

    +7 dBm

    +19 dBm

     

    101 – 153

    +23 dBm

    +8 dBm

    +12 dBm

    +26 dBm

     

    154 – 240

    +28 dBm

    +12 dBm

    +17 dBm

    +33 dBm

     

    241 – 386

    +30 dBm

    +13 dBm

    +20 dBm

    +35 dBm

     

    387 – 610

    +26 dBm

    +13 dBm

    +19 dBm

    +35 dBm

     

    611 – 900

    +31 dBm

    +14 dBm

    +21 dBm

    +39 dBm

     

    901 – 1390

    +32 dBm

    +15 dBm

    +22 dBm

    +40 dBm

     

    1391 – 2270

    +28 dBm

    +11 dBm

    +17 dBm

    +35 dBm

     

    2271 – 3770

    +27 dBm

    +12 dBm

    +16 dBm

    +32 dBm

     

    3771 – 6180

    +32 dBm

    +14 dBm

    +18 dBm

    +34 dBm

     

    6181 – 9610

    +23 dBm

    +10 dBm

    +13 dBm

    +27 dBm

     

    9611 – 15440

    +28 dBm

    +16 dBm

    +17 dBm

    +30 dBm

     

    15441 – 18000

    +28 dBm

    +15 dBm

    +16 dBm

    +29 dBm

     

    18001 – 26000

    +34 dBm

    +20 dBm

    +21 dBm

    +34 dBm

     

     

     

     

     

         

      杂  散

    Image Suppression镜频抑制

    ≤ –90 dBc (100 kHz - 30 MHz)

    ≤ –80 dBc (30 MHz - 14.5 GHz)

    ≤ –70 dBc (14.5 GHz - 26 GHz)

    模数转换器杂散Spurious due to ADC Images

    ≤ –80 dBc

    IF Feedthrough中频泄露

    ≤ –80 dBc

    近端杂散 (偏差 ≤ 1 MHz)

    ≤ –70 dBc

    其余杂散 (input terminated, 0 dB attenuation)

    ≤ –120 dBm (100 kHz - 30 MHz)

    ≤ –110 dBm (30 MHz - 18 GHz)

    ≤ –90 dBm (18 GHz - 26 GHz)

    本振到输入接口泄露(0 dB attenuation)

    ≤ –100 dBm

      数据采集

    数模转换器

    16 bits, 80 MSPS

    中频带宽

    20 MHz

      射频输入

    射频输入阻抗/接口

    50 Ω / SSMA(f)

    驻波比 (衰减 = 0 dB)

    ≤ 1.5 (100 kHz -30 MHz)

    ≤ 1.5 (30 MHz - 6 GHz)

    ≤ 1.6 (6 GHz - 15 GHz)

    ≤ 2.0 (15 GHz - 18 GHz)

    ≤ 2.5 (18 GHz - 26 GHz)

    驻波比 (衰减= 30 dB)

    ≤ 1.5 (100 kHz - 30 MHz)

    ≤ 1.3 (30 MHz - 6 GHz)

    ≤ 1.5 (6 GHz - 15 GHz)

    ≤ 1.8 (15 GHz - 18 GHz)

    ≤ 2.5 (18 GHz - 26 GHz)

    最大安全输入功率

    +25 dBm (30 dB attenuation)

    最大直流电压

     

    0 V, ESD 二极管夹断电压±5.3 V

     

      输入亚倍频预选器

    预选器工作模式

    选通 –预选模式, 关断 – 旁路模式

    旁路模式频率范围

    30 MHz – 26 GHz

    预选模式

    频率范围

    频带-1: 30 MHz – 44 MHz

    频带-2: 44 MHz – 53 MHz

    频带-3: 53 MHz – 70 MHz

    频带-4: 70 MHz – 100 MHz

    频带-5: 100 MHz – 153 MHz

    频带-6: 153 MHz – 240 MHz

    频带-7: 240 MHz – 386 MHz

    频带-8: 386 MHz – 610 MHz

    频带-9: 610 MHz – 900 MHz

    频带-10: 900 MHz – 1390 MHz

    频带-11: 1390 MHz – 2270 MHz

    频带-12: 2270 MHz – 3770 MHz

    频带-13: 3770 MHz – 9180 MHz

    频带-14: 6180 MHz – 9610 MHz

    频带-15: 9610 MHz – 15440 MHz

    频带-16: 15440 MHz – 26000 MHz

    通带间重叠带宽

    20 MHz

      外部参考输入

    输入频率

    10 MHz

    输入电平

    –10 dBm to +10 dBm

    输入阻抗/接口

    50 Ω / SMA(f)

    最大直流电压

    0 V, 二极管夹断电压±5.3 V

    驻波比

    ≤ 1.5

      跟踪源

    频率范围

    0.1 MHz to 26 GHz

    调谐分辨率

    1 Hz

    输出电平

    –60 dBm 到–20 dBm (0.1 MHz - 0.3 MHz)

    –60 dBm 到 –10 dBm (0.3 MHz - 24 GHz)

    –60 dBm 到 –20 dBm (24 GHz - 26 GHz)

    输出电平分辨率

    1 dB

    输出电平精度

    ±1.5 dB (0.1 MHz  5.8 GHz)

    ±2.5 dB (5.8 GHz  26 GHz)

    谐波

    –20 dBc (0.1 MHz - 0.3 MHz)

    –40 dBc (0.3 MHz - 1 MHz)

    –60 dBc (1 MHz - 70 MHz)

    –65 dBc (70 MHz - 125 MHz)

    –60 dBc (125 MHz - 225 MHz)

    –62 dBc (225 MHz - 415 MHz)

    –60 dBc (415 MHz - 750 MHz)

    –56 dBc (750 MHz - 1260 MHz)

    –50 dBc (1260 MHz - 2120 MHz)

    –50 dBc (2120 MHz - 3550 MHz)

    –60 dBc (3.55 GHz - 5.8 GHz)

    –30 dBc (5.8 GHz - 14.5 GHz)

    –20 dBc (14.5 GHz - 18 GHz)

    –30 dBc (18 GHz - 26 GHz)

    次谐波: 1/2FO

     

     

    –30 dBc (FO: 14.5 GHz - 26 GHz)

     

     

    相位噪声, dBc/Hz

    频率偏移量

    1 GHz CF

    10 GHz CF

    18 GHz CF

     

    1 kHz

    –115

    –91

    –87

     

    10 kHz

    –125

    –93

    –90

     

    100 kHz

    –126

    –93

    –90

     

    1 MHz

    –136

    –108

    –104

    驻波比 (最大输出电平)

    ≤ 1.3 (0.1 MHz - 10 GHz)

    ≤ 1.7 (10 GHz - 15 GHz)

    ≤ 2.1 (15 GHz - 26 GHz)

    驻波比 (最小输出电平)

    ≤ 1.3 (0.1 MHz - 10 GHz)

    ≤ 1.6 (10 GHz - 15 GHz)

    ≤ 2.0 (15 GHz - 26 GHz)

    扫描速度

    1 ms 一个点; 例外: 60 ms (5.8 GHz - 5.8 GHz + 1 Hz)

    最大反向功率

    +20 dBm

    最大直流输入电压

    0 V, 二极管夹断电压±5.3 V

    射频阻抗/接口r

    50 Ω / SSMA(母头)

      频率计数器

    分辨率

    10 位

    相对精度

    见频率参考精度

    分析信号类型l

    CW连续波

    灵敏度

    –40 dBm- 0 dBm

      解  调

    功能

    AM/FM/SSB 收听

    AM分析带宽

    10 kHz

    FM 分析带宽

    200 kHz

      信号记录(20 MHz Bandwidth)

    记录数据类型 

    原始数据流 (16 bits, 80 MSPS, 2 通道s)

    数据率

    320 MB/s

      信号记录(1 MHz Bandwidth)

    记录数据类型 

    32-bits (float浮点数) IQ 数据 (5 MSPS, 双通道)

    数据率

    80 MB/s

      相位噪声测量

    射频输入测量幅度

    –40 dBm  0 dBm

    频率偏移范围

    10 Hz- 10 MHz

    相位噪声测量偏差范围

    ±3 dB (10 Hz - 1 kHz offset)

    ±2 dB (1 kHz - 10 MHz offset)

    测量速率

    3 × (最小频偏周期) × (互相关系数)

    互相关值

    1-100,000取决于频偏值 

    相关系数对位噪声灵敏度的改善rovement of Phase Noise Sensitivity by Number of Correlations:

     

    相关系数

    10

    100

    1000

    10,000

    100,000

     

    改善值

    5 dB

    10 dB

    15 dB

    20 dB

    25 dB

    噪底, dBc/Hz. 内部本振模式, 通道 (1 + 2), 互相关系数= 1, 关闭低杂散模式 – off, 关闭低噪放:

    输入频率

    相对载波频偏值

     

    10 Hz

    100 Hz

    1 kHz

    10 kHz

    100 kHz

    1 MHz

    10 MHz

    10 MHz

    –99

    –140

    –151

    –152

    –152

    –152

    –152

    100 MHz

    –75

    –117

    –131

    –139

    –140

    –141

    –142

    1 GHz

    –60

    –100

    –115

    –126

    –129

    –140

    –143

    3 GHz

    –49

    –90

    –106

    –118

    –120

    –130

    –142

    9 GHz

    –37

    –80

    –96

    –108

    –110

    –125

    –145

    18 GHz

    –30

    –73

    –90

    –102

    –104

    –119

    –142

    26 GHz

    –30

    –70

    –89

    –99

    –101

    –113

    –138

      相位噪声测量 

    测量单位

    dBc/Hz

    测量结果

    通道1,通道 2,通道 (1+2),互相关 (1+2),底噪

    迹线数

    3

    迹线功能

    打开,显示,读取,写入,空白On, View, Read, Write, Blank

    迹线模式Trace Modes

    常规,平均,平滑

    平均因子

    1 to 1000

    标记

    6 (常规,标记表)

      脉冲相位噪声测量

    射频输入频率范围

    30 MHz - 26 GHz

    射频输入测量电平

    –20 dBm (低噪放-关断, 预选器-关断,输入衰减 – 0 dB)

    脉冲率 (PRF)

    最小 500 Hz / 最大 3 MHz

    脉宽

    最小 100 ns / 最大 1 ms

    占空比

    最小 2 /最大 500

    频率偏移范围

    0.5 × PRF

    脉冲相位噪声不确定性

    ± 4 dB (10 Hz - 1 kHz 频率偏移)

    ± 3 dB (1 kHz - 1 MHz 频率偏移)

    脉冲相位噪声底噪, dBc/Hz

    (PRF = 20 kHz, 脉宽 10 µs, 通道 (1 + 2), 互相关 = 1, 低杂散模式关断 – 关断, 低噪放 – 关断, 预选器-关断):

    输入频率

    距载波频率偏移量

     

    10 Hz

    100 Hz

    1 kHz

    10 kHz

    1 GHz

    –60

    –100

    –115

    –120

      实时频谱 /频谱图

    实时频谱信号带宽

    20 MHz

    100%截获概率(POI)最短信号持续时间

    3 µs

    频谱处理率Spectrum processing rate

    312000 per second

    FFT 速率

    (20 MHz 分析带宽)

    80 MHz

    分辨率带宽(RBW)

    39 kHz, 78 kHz, 156 kHz

    窗口类型Window type

    凯撒窗Kaiser

    每步停留时间

    200 ms - 500 ms

      频率响应分析

    频率范围

    30 MHz - 26 GHz

    分辨率带宽(RBW)

    100 Hz - 10 kHz

    测量单位 (电平)

    dB

    迹线数

    3

    迹线点数

    10 - 2000

    迹线功能

    打开,查看,读,写,空白On, View, Read, Write, Blank

    迹线模式

    样本,平均值

    平均因数

    1 - 1000

    标记

    6 (常规,峰值,差值,标记表)

      瞬态分析

    滤波器时间常量

    2 μs (1 MHz)

    100 ns (20 MHz)

    测量参数

    幅度,频率,相位

    测量单位

    dB (电平), MHz (频率), rad (相位)

    读取时间(分析范围)

    最大1 s

    显示时间

    最小10 μs

    迹线数

    2

    迹线功能

    选通,空白

    标记

    6 (常规,差值,标记表)

       回波损耗测量

    频率范围

    30 MHz - 26 GHz

    分辨率带宽(RBW)

    1 kHz - 10 kHz

    测量参数

    VSWR, 回波损耗 (RL)

    测量单位

    dB (RL)

    迹线数

    3

    迹线点数

    10 - 2000

    迹线功能

    选通,查看,读,写,空白(On, View, Read, Write, Blank)

    迹线模式

    常规,平均值

    平均因子

    1 - 1000

    标记

    6 (常规,峰值,差值,标记表)

      远程控制Remote Control

    应用程序接口(API)

    SCPI (可编程仪器标准命令)

      连接器Connectors

    射频输入

    SSMA, 母头

    跟踪源输出

    SSMA, 母头

    外部参考输入

    SMA,母头

    USB 接口

    USB 3.0 – Type B

    直流供电DC Power Supply

    2.5 mm 内径ID, 5.5 mm 外径OD (CUI Inc. PJ-033B)

      状态指示器Status Indicators

    电源控制器PWR

    黄灯常亮:直流电源供电-设备关闭

    蓝色常亮:直流电源供电-设备开启

    红色常亮:过热-设备关闭

    红色闪烁:电流过载-设备关闭

    黄色闪烁:直流电压过载/不足-器件关闭

    频谱仪(SA)

    蓝色常亮:接收机已初始化-可使用

    黄色常亮:主锁相环(PLL)失锁

    黄色闪烁:外部参考锁相环(PLL)失锁

    红灯常亮:报错

    追踪源(TG)

    蓝色常亮:跟踪源已初始化-可使用

    黄色常亮:主锁相环(PLL)失锁

    黄色闪烁:外部参考锁相环失锁

    红色常亮:报错

    电源要求: 

    直流输出电压

    +9 V - +20 V

    功             耗

    ≤ 43 W


    温度范围: 

    工作温度范围

    0°C - 50°C

    储存温度范围

    –40°C - +85°C


    物理特性: 

    250 mm

    85 mm

    230 mm

    重量

    ≤ 2.7 kg


    电脑配置要求:

     

    操作系统

    Windows 7, 10 (64 bit)

    CPU

    Intel i7, 四核

    RAM

    ≥ 8 GB

    大容量储存驱动

    带M2接口的SSD,带宽20MHz

    数据端口

    USB 3.0

     

     

     订购信息:

     

      项目Item                        说明Description

    BRFNT-26-LP

       USB接口宽带接收机/相位噪声测试仪, 30 MHz – 26 GHz

    可选 TG26

       全频带跟踪源, 0.1 MHz – 26 GHz

    可选 ISP

       输入亚倍频滤波器组预选器, 30 MHz – 26 GHz

    可选 LFI

       额外的低频输入, 100 kHz – 30 MHz

       (包括:组合的两个通道,抗混叠滤波器,预放大和步进5dB的30dB衰减器)

     ELA

       外部低噪放 电源/控制连接 (+12 VDC, CAN –控制接口)